Abstract
Collective future thinking, namely the anticipation of events for a group, is a relatively new research area in memory studies. Research to date with predominantly Western populations suggests that people tend to expect negative events for their country’s future. In two studies, we investigated the emotional valence and perceived control of anticipated future events of one’s country and examined the roles of country identification and national well-being in collective future thinking. US and Chinese college students (Study 1) and US, Chinese, and Turkish adults of a community sample (Study 2) imagined events that could happen to their respective countries in 1 week, 1 year, and 10–15 years. Participants rated each event on emotional valence and perceived control. They also completed measures for their country identification and perceived national well-being. Chinese participants imagined future events for their country to be more positive than did the US and Turkish participants, whereas US participants reported higher perceived control by their country for the future events than did Chinese and Turks. Country identification and national well-being predicted more positive future thinking and also mediated cultural differences in future-event valence and perceived country control. These original findings shed critical light on the characteristics of collective future thinking that are shaped by societal-cultural factors.
Keywords: Collective future thinking, Culture, Emotional valence, Country identification, National well-being
Introduction
In everyday life, people spend a considerable amount of time thinking about and planning their future in different time scales—from what to bring to a weekend trip to where to move in 20 years after they retire. Future thinking applies to a vast array of occasions in our lives from decision-making to achieving goals and cognition about the self (e.g., Atance & O'Neill, 2001; Wang & Koh, 2015). Similar to thinking about personal future, people also think about the future of the groups they belong to, such as their families, organizations, and countries. Collective future thinking, namely, “the act of imagining an event that has yet to transpire on behalf of, or by, a group” (Szpunar & Szpunar, 2016, p. 378), projects the group as an extended and continuous entity that goes beyond the past and the present (Cinnirella, 1998; Sani et al., 2008). It may also motivate attitudes and behavioral intentions to create a benevolent and functional collective future (Bain et al., 2013). Despite its significance to collective identity and action, collective future thinking has received research attention only recently and the few studies to date have mostly focused on WEIRD (Western, educated, industrialized, rich, and democratic) populations (Wang, 2016). Also, little is known about what factors influence collective future thinking. To fill the gap, we conducted two studies to examine collective future thinking in US, Chinese, and Turkish adults and investigate the underlying mechanisms.
Characteristics of collective future thinking
The still-nascent literature in this area has revealed some interesting characteristics of collective future thinking. In particular, several studies have identified a negativity bias in collective future thinking. Shrikanth et al. (2018) used a fluency task in which US and Canadian participants were given 1 min to imagine as many events as they could that they or their country might be excited (i.e., positive events) or worried about (i.e., negative events) in 1 week, 1 year, and 5–10 years. Based on the number of events reported for each prompt, the researchers found that whereas participants predominantly imagined positive events for their own future, they imagined predominantly negative events for their country’s future. Using a similar method, Yamashiro and Roediger III (2019) examined both collective future thinking and collective memories about one’s country in US participants. It was found that participants reported more events they were worried than excited about for America’s future, although they recalled proportionally more positive than negative collective memories. Shrikanth and Szpunar (2021) replicated the negativity bias in collective future events and also found it in collective memories. Similarly, in a study with a large representative sample of Dutch adults, van der Duin et al. (2020) asked participants to comment on various societal issues in the future. They found that participants had negative views about the society’s future, whereby 43% of the participants thought the society would be worse in the future and only 15% thought positively about the society’s future. Also, 73% of the participants expected more tension and conflict in 20 years than in the present day, which depicted a more pessimistic view of the country’s future than in a 2016 survey.
However, the negativity bias in collective future thinking is not always present. Topcu and Hirst (2020) asked US participants to generate 15 past and 15 future collective events, with no time constraint. They found that participants rated future events more positively than past events. Methodological differences may have contributed to the different findings. Van der Duin et al. (2020) did not examine collective future thinking that involves imagining specific events in the country’s future. For the other studies, whereas participants imagined collective future events within a limited time frame in Shrikanth et al. (2018), Shrikanth and Szpunar (2021), and Yamashiro and Roediger III (2019), those in Topcu and Hirst (2020) took as much time as they needed. It appears that the negativity bias in collective future thinking may reflect a matter of accessibility rather than availability: Individuals can imagine both positive and negative collective future events. However, negative events may be more salient and accessible presumably due to their high coverage in media (Shrikanth et al., 2018), and thus more readily come to mind than positive ones during a fluency task. When sufficient time is provided in a task, both positive and negative collective future events can be generated. This interpretation is consistent with the memory literature showing that the fluency task assesses the accessibility of memories (e.g., Peterson et al., 2009; Shrikanth & Szpunar, 2021; Wang et al., 2004). In addition, whereas collective future events are more negative than personal future events (e.g., Shrikanth et al., 2018; Shrikanth & Szpunar, 2021), they are more positive than collective memories (Shrikanth & Szpunar, 2021; Topcu & Hirst, 2020). Obviously, further research is needed to examine the valence of collective future thinking using additional methods.
Only a couple of studies to date have examined collective future thinking in non-Western populations. In a sample of Turkish college students, researchers investigated the role of perceived power of groups in shaping future thoughts about the groups. Participants read narratives of power of either their own or another university, thought about the future events that might happen to their university, and rated the valence of the events. The negativity of future events was present in both conditions (Boduroglu & Hacibektasoglu, 2020). In another study with a large Turkish sample, participants recalled six public events since they were born and imagined six future events in the next 100 years for their country, and they rated the valence of the events. The results showed that almost all collective future events were negative and that collective past events were mainly negative as well (Oner & Gulgoz, 2020). Given the limited research, it is inconclusive whether the negativity bias in collective future thinking persists across populations and, furthermore, it is largely unknown what factors influence the valence of collective future thinking.
Country identification and national well-being in collective future thinking
Research to date has rarely examined factors that influence the valence of collective future thinking. Studies on personal future thinking have shown that the valence of imagined personal future events is influenced by a variety of factors associated with the current state of the self, such as the importance of the event for self-image (D'Argembeau & Van der Linden, 2004), perceived controllability by the self for the future events (Weinstein, 1980), personal factors such as household income and social network size (MacLeod & Conway, 2005), current mental states and well-being (MacLeod & Conway, 2005; MacLeod & Conway, 2007), and internalized cultural beliefs (Shao et al., 2010; Wang et al., 2015). In a similar vein, people’s expectations for their country’s future may be influenced by their relationship with the country and their perceived current state of the country. Thus, two factors—country identification and perceived national well-being—may play particularly important roles in affecting the valence of collective future thinking.
Country identification refers to individuals’ feelings towards being a member of their country and the extent to which they perceive the country as an important part of their identity. Identification with a group influences individuals’ attitudes and feelings towards that group (Peetz & Wohl, 2019). For instance, people who identify more highly with their country have a greater sense of “common fate,” experiencing more guilt about their country’s past shameful actions (Doosje et al., 2006) and more concerns when their group’s future is threatened (Wohl et al., 2012). They also exhibit a “group-serving bias,” recalling fewer negative incidents and harmful doings and more good deeds by their country (Sahdra & Ross, 2007). Perceived national well-being, on the other hand, refers to the perception of the social harmony, leadership, and current status of one’s country (VanderWeele, 2019). Interestingly, stronger country identification may be associated with greater perceived national well-being. For example, individuals show preferred identification with groups that possess desirable characteristics and offer individuals beneficial psychological outcomes (Fisher & Wakefield, 1998; Kelman, 1961; Tajfel & Turner, 2004). Individuals are also more likely to identify with a group if the group is perceived as successful (Fisher & Wakefield, 1998), if the group efficacy is high (van Zomeren et al., 2010), and if the group holds a higher status than other groups (Ellemers, 1993) or is expected to have positive changes in its status (Doosje et al., 2002). However, these two constructs do not always go hand-in-hand, whereby strong identification with a group can result in increased stress and decreased well-being among certain individuals (Amiot & Sansfaçon, 2011; Bilewicz et al., 2021). Thus, just like self-identity and subjective well-being, which are distinct and yet interrelated constructs, so are the country identification and perceived national well-being.
As research on personal future thinking has shown, individuals and groups with a stronger sense of self as a unique being tend to uphold more positive outlooks for their futures (Jeon et al., 2020; Shao et al., 2010), which may reflect the self as a motivational system in shaping the perception and anticipation of personal events (Conway, 2005; Wang, 2013). Furthermore, individuals’ current psychological well-being and positive affect are associated with the positivity of their imagined futures (MacLeod & Conway, 2005; MacLeod & Conway, 2007), which suggests a congruence in valence between current mental states and future anticipations. Similarly, in the context of collective future thinking, individuals’ country identification may motivate optimistic forecasting of the country’s future, and perceived national well-being may contribute to the valence-congruent simulation of collective future events. In other words, people who exhibit greater country identification and those who perceive greater national well-being may be more positive about their county’s future and exhibit more positive collective future thinking.
The role of the macro-cultural context
Factors in the macro-cultural context can influence how we perceive and conceive of the world around us (Wang, 2016, 2021). We here focused on three countries—Turkey, China, and the USA—as they differ in their economic-sociocultural-political systems, where several macro-cultural factors may impact individuals’ country identification and perceived national well-being and, in turn, collective future thinking. During the data collection of the present studies (summer and winter 2020), China was already in recovery after the effects of the global pandemic while much of the rest of the world, including the USA and Turkey, was still struggling and facing high numbers of cases and fatalities (Burki, 2020). The success of the Chinese government in controlling the pandemic was offered as a model to other countries for managing a global crisis (Myers et al., 2021). Furthermore, China has experienced tremendous economic growth in recent decades (Boylan et al., 2021) and surpassed the USA as the preferred destination for foreign investors (Myers et al., 2021). It is also the only economy that continued to grow during the pandemic (Vaswani, 2021), in contrast to the plummeting economy in the USA and Turkey (Bauer et al., 2020; Halpin et al., 2018; Yıldırım, 2020). In addition, political polarization and conflict further deepened in the USA during the pandemic (Taylor, 2021). Whereas economic growth and political stability may facilitate individuals’ country identification and perceived national well-being, economic stagnation and political upheaval may negatively impact these processes (Doosje et al., 2002; Fisher & Wakefield, 1998; Stevenson & Wolfers, 2008).
Moreover, Chinese nationalism, which is characterized by its historical, ethnic, and cultural roots and its emphasis on Chinese sovereignty, unity, and integrity of its territory, has risen in recent years (Boylan et al., 2021; Gries et al., 2011; Roach, 2016). Unlike American nationalism that idealizes democratization and egalitarianism, Chinese nationalism promotes identity and unity among its members (Boylan et al., 2021; Gries et al., 2011). Chinese individuals strongly identify with their country such that a great majority believe that “When other people criticize China, it is as though they are criticizing me” (Dickson, 2016, p. 235). The nationalist discourse and domestic focus were further strengthened in China during the pandemic (Wong, 2020). In contrast, American nationalism has sharply declined in recent years (Silver et al., 2021), and in a 2020 survey only 39% of the respondents reported that they were proud of their country (Pew Research Center, 2021). Nationalism has always been an important part of the Turkish identity, although it differs from that in China or the USA. From being a more secular form in the early years of the foundation of the country to a form with religious rhetoric at the present day, Turkish nationalism remains strong (Can, 2019; Halpin et al., 2018). Indeed, 35.6% of Turks but only 9.5% of Americans strongly believe that “nations should follow their own interests, even if this leads to conflict with other nations”; 53.8% of Turks but 36.8% of Americans strongly believe that “patriotism strengthens country’s place in the world”; and 51.7% of Turks but 8.4% of Americans believe that “foreigners shouldn’t be allowed to buy land” (GESIS-Leibniz Institute for Social Sciences, 2015). Greater nationalism may facilitate greater country identification and perceived national well-being (Lalwani & Winter-Levy, 2016; Sahdra & Ross, 2007; Stevenson & Wolfers, 2008).
There is also evidence that people in Western and non-Western cultures differ in the extent to which they perceive their social groups as an important aspect of their identity. For instance, Caucasian Americans report lower importance of social groups for their identity than African and Asian Americans (Crocker et al., 1994), and East Asians define themselves more in terms of their social identities, roles, and memberships in the society than North Americans (Heine, 2016; Wang, 2013). Interestingly, Turkish society demonstrates a combination of Eastern and Western cultural characteristics. For instance, whereas Turks have larger social networks and engage in more social interactions than do people in Western societies such as Sweden, they hold similar independent self-construal as Swedes (Imamoğlu et al., 1993). Nonetheless, there has not been sufficient psychological research on Turkish populations.
Taken together, it is theoretically compelling to examine collective future thinking among individuals from Turkey, China, and the USA to reveal the impact of the larger macro-cultural context on psychological processes. Differences in economic growth, political stability, management of the pandemic, nationalism, and cultural-psychological tendencies in the three countries may contribute to different levels of country identification and perceived national well-being, which may, in turn, influence the valence of collective future thinking.
The present research
We conducted two studies to examine the characteristics of collective future thinking in Turkish, Chinese, and US adults and test the roles of country identification and perceived national well-being as underlying mechanisms for the valence of collective future thinking. US and Chinese college students (Study 1) and US, Chinese, and Turkish community participants (Study 2) were asked to imagine events that might happen to their country in three time points: next week, next year, and the next 10–15 years. We used these different time points following prior research to take into consideration temporal distance in collective future thinking (e.g., Shrikanth et al., 2018; Wang et al., 2011). To keep the task at a reasonable length, we prompted one event from each time point. After describing the events, participants rated emotional valence and perceived country control of the events. They also completed measures for country identification and national well-being. All data and research materials are available at https://osf.io/hn8q7/.
We expected that, given the economic growth, recovery from the global pandemic, and high nationalist discourse in China, Chinese participants would show greater positivity for their country’s future than would US and Turkish participants. The cultural differences in future event valence would be consistent across temporal distance, although they might be particularly salient for the near future given the ongoing detrimental impact of the pandemic in the USA and Turkey at the time of data collection. Furthermore, we expected Chinese participants to report greater identification with their country and higher perceived national well-being than US and Turkish participants. We further hypothesized that country identification and national well-being would each predict the positivity of future thinking and mediate the cultural effect on the valence of collective future thinking.
In addition to our main interest in event valence, we explored cultural and individual differences in perceived country control of future events, which has rarely been examined in prior studies on collective future thinking. Cultural research has suggested that Western cultures are characterized by an internal locus of control, where individuals attribute the control and cause of events to themselves. In contrast, East Asian cultures are characterized by an external locus of control, where individuals attribute the control and cause of events to forces beyond themselves (Hamid, 1994; Hsieh et al., 1969; Smith et al., 1995). We thus expected US participants to attribute more control of the future events to their own country than Chinese and Turkish participants. We also explored the relations of country identification and national well-being to perceived country control and made no a priori predictions.
Study 1
Method
Participants
A power analysis (G*Power; Faul et al., 2007) showed that a sample size of 214 would be needed to achieve a power of 0.9 to detect the interaction between culture and temporal distance with an effect size of f = .10, α = .05. In anticipation of attrition, we maximized our sample size within funding constraints. The sample consisted of 196 college students at Cornell University, USA (142 female, Mage = 20.73 years, SD = 1.42) and 107 college students at Peking University, China (56 female, Mage = 20.02 years, SD = 2.09). Among the US participants, 41.8% were of European descent, 22.4% were Asian, 13.8% were Black, 11.7% were Hispanic or Latinx, and 10.2% were multiracial. Participation was compensated with either course credit (USA) or 10 Chinese Yuan (~1.5$) (China). An additional 21 participants were excluded from the US sample, including 15 who moved to the USA after the age of 15 years (i.e., international students) and six who wrote about countries other than the USA (e.g., Korea, Canada, China, UK). An additional ten participants were excluded from the Chinese sample, including nine who failed to correctly answer the attentional check questions and one who did not provide usable data. The data from each cultural group were collected between April 2020 and June 2020. A second wave of Chinese data was collected between December 2020 and January 2021.
Procedure
Participants completed an online questionnaire that was translated to Chinese by native speakers and double-checked by two Chinese-English speakers to ensure equivalence between the different language versions. Participants were first instructed to imagine three national events that might happen to their country in three time points: next week, next year, and 10–15 years from now. Following the method in the episodic future thinking literature (e.g., Schacter & Addis, 2007; Wang et al., 2011), it was emphasized to the participants that “each event should be of a specific one-time event that will take place at a particular time and place and will not last over a day (e.g., the celebration of a particular national holiday, as opposed to national holidays).” The instruction also specified that the events must be plausible given the country’s plans for the future, and novel, not having previously taken place in the country. Participants were asked to imagine these events as if they were taking place in their country and to describe the events in as much detail as they could. The order of the events was randomized. There was no time restriction for the participants to generate and describe the events.
After describing all three events, participants rated (1) the emotional valence of each event (i.e., “What is the overall emotional tone of this event that can happen to your country next week/next year/in 10–15 years?”) from 1 (very negative) to 7 (very positive), and (2) perceived control of the events by own country control, by another country control, and by circumstances (i.e., “How much do you think that your country/another country/circumstances beyond any country’s control may cause this event to happen next week/next year/in 10–15 years?”) from 1 (not at all) to 7 (very much). An own-country control score was computed for each event by subtracting other-country control and circumstance control ratings from the own-country control rating.
Following the ratings, participants completed the Community Well-being Scale (VanderWeele, 2019) and the Identity subscale of Collective Self-Esteem Scale (Luhtanen & Crocker, 1992). They also rated how concerned they were about their health and others’ health due to the COVID-19 pandemic and provided demographic information.1
Measures
Country identification
Participants’ identification with their country was measured with the Importance to Identity Subscale of the Collective Self-Esteem Scale (CSES; Luhtanen & Crocker, 1992). CSES assesses self-esteem that results from belonging to a social group, such as gender, nationality, and ethnicity. Only the Importance to Identity Subscale was used in the present study given its relevance to the research question. The subscale consists of four items (e.g., “My country is an important reflection of who I am”). Participants rated their agreement with each item on a 7-point scale (1 = strongly disagree, 7 = strongly agree). Cronbach’s α = .82 in the current sample. The ratings were averaged to form a country identification score, with higher scores indicating higher identification with one’s country.
National well-being
Participants’ perceived national well-being was measured with the Community Well-being Scale adapted from VanderWeele (2019). The scale includes 12 items that assess three domains of communal well-being, including whether people in the community had good relationships with each other (e.g., “Everyone is respected within my country”), whether the community was led by proficient leaders that people can rely on (e.g., “Those in authority truly care about the well-being of everyone in my country”), and whether being part of the community was satisfying (e.g., “Everyone is satisfied with the way things are in our country”). Participants rated their agreement with four items in each domain on 7-point scales (1 = strongly disagree, 7 = strongly agree). Cronbach’s α = .95 in the current sample. The ratings were summed to form a national well-being score, with higher scores indicating higher perceived national well-being.
Results
Preliminary analyses
We inspected the event descriptions to ensure that the events were future-oriented and about one’s country. A total of 894 collective future events were provided. Fifteen of these events were personal or past events and were excluded from the analysis. The degrees of freedom thus varied slightly across tests. Preliminary analyses did not reveal significant gender effects on any variable; gender was therefore not considered further. In addition, within the US sample, European Americans did not differ significantly from ethnic minority participants combined (each ethnic minority group was too small to warrant separate analyses) in national well-being (European American: M = 29.46, SD = 11.49; minorities: M = 28.65, SD = 12.00), country identification (European American: M = 3.25, SD = 1.06; minorities: M = 3.14, SD = 1.20), average event valence (European American: M = 4.51, SD = 1.65; minorities: M = 4.42, SD = 1.59), or average perceived control (European American: M = −1.57, SD = 2.25; minorities: M = −1.99, SD = 2.18). In addition, the two waves of Chinese data (i.e., summer 2020 and winter 2020) did not differ significantly on any measure and were combined in subsequent analyses.
We examined the type of future events that participants described. The first author reviewed the US event descriptions, and a Chinese-speaking research assistant reviewed the Chinese event descriptions. They identified eight most common categories based on the event content (e.g., lockdown, increasing COVID-19 cases, and restrictions formed the “COVID-19” category). Table 1 presents the categories and the percentage of events in each category by culture and temporal distance. Categories that had fewer than 1% of the events by any culture at a temporal point were summed to form the “other” category. The first author and a second coder coded 20% of the US event descriptions, and two Chinese native speakers coded 20% of the Chinese event descriptions. Inter-rater reliabilities ranged from κ = .80 to κ = .83. Disagreements were resolved by discussion. For the next-week event, COVID-19-related events were the most prominent in both cultures, followed by celebratory events. For the next-year event, COVID-19-related events continued to be the most prominent in both cultures, although particularly for US participants. US participants also frequently imagined events related to election/politics, whereas Chinese participants imagined events related to celebration, financial issues, art/sport/culture events, and science/technology/space events. For the 10- to 15-year event, US participants most frequently imagined events related to election/politics, followed by environment-related events. Chinese participants most frequently imagined financial events, followed by events related to science/technology/space and election/politics.
Table 1.
Percentages of event categories by culture and temporal distance in Study 1
| Event categories | Week | Year | Distant | |||
|---|---|---|---|---|---|---|
| USA (%) | China (%) | USA (%) | China (%) | USA (%) | China (%) | |
| Covid-19 | 61.1 | 62.3 | 38.9a | 19.2b | - | - |
| Election/politics | 8.9 | 6.6 | 25.4a | 10.6b | 36.9a | 20.8b |
| Financial | 3.7 | 4.7 | 5.2a | 14.4b | 5.6a | 31.1b |
| Celebration | 10 | 11.3 | 13 | 17.3 | 8.2a | 1.9b |
| Science/tech/space | 2.6 | 2.8 | 2.1a | 11.5b | 9.7a | 28.3b |
| Social issues | - | - | 3.1 | 3.8 | 4.6 | 8.5 |
| Art/sports/culture | - | - | 3.6a | 13.5b | 2.1 | 2.8 |
| Environment | - | - | 2.6 | 2.9 | 14.9a | 1.9b |
| Other | 13.7 | 12.3 | 6.2 | 6.7 | 17.9a | 4.7 |
Note. The top three most frequently imagined event categories in each culture are boldfaced. Different superscripts (a, b) are used to denote cultures that significantly differed in event percentages at p < .05 (Bonferroni adjustment was applied). An absence of superscripts indicates that there was no difference in event percentages between cultures
Notably, although some event categories (e.g., science/technology/space) might seem more positive than others (e.g., COVID-19), the valence would depend on the specific imagined events (e.g., conquering COVID would be positive, whereas technological challenges would be negative). Furthermore, most event categories (e.g., election/politics, financial events, social issues, environment) were “neutral” and could develop in either positive or negative directions in a country’s future. The participants’ ratings of the imagined future events would therefore best reflect the expected valence of the events, including those in the seemingly positive and negative event categories. The rating method has been used in prior research on collective future thinking and revealed either negative (Boduroglu & Hacibektasoglu, 2020; Oner & Gulgoz, 2020) or positive event simulations (Topcu & Hirst, 2020). It is not systematically associated with response biases such as desirability concerns, especially when responses are anonymous.
To examine cultural effect on the expected valence of the same event category, we conducted exploratory linear mixed-model analyses with culture as a fixed factor and subject as a random factor on the valence ratings of the top five event categories across the three time points. Chinese participants were more positive than Americans in their imagined COVID-19-related events (Chinese M = 4.93, SD = 2.10; US M = 4.31, SD = 2.38 ), F(1, 287) = 4.45, p = .036, R2 = .015, science/technology related events (Chinese M = 5.87, SD = 1.42; US M = 4.89, SD = 1.99), F(1, 60.80) = 5.28, p = .025, R2 = .075, and financial events (Chinese M = 5.77, SD = 1.50; US M = 3.00, SD = 2.28), F(1, 81) = 44.37, p < .001, R2 = .357. There was no significant cultural difference in election/politics-related events and celebration events.
In the following sections, we first examined cultural and temporal effects on the characteristics—event valence and perceived country control—of the collective future events. Then, we tested the roles of country identification and national well-being in event valence and perceived country control.
Characteristics of the collective future events
Table 2 top panel presents means and standard deviations of valence and perceived control by culture and temporal distance. We conducted a 3 (temporal distance: week vs. year vs. 10–15 years) × 2 (culture: US vs. China) repeated-measures ANOVA, with temporal distance being a within-subjects factor and culture being a between-subjects factor. The analysis revealed main effects of culture, F(1, 289) = 20.50, p < .001, ƞp2 = .066, and temporal distance, F(2, 578) = 21.37, p < .001, ƞp2 = .069, qualified by a Culture × Temporal distance interaction, F(2, 578) = 3.92, p = .02, ƞp2 = .013. Post hoc pairwise comparisons showed that Chinese participants expected next week and 10- to 15-year events to be more positive than did US participants (ps < .001), while there was no significant cultural difference in valence for the 1-year event (see Fig. 1a). Furthermore, both Chinese, F(2, 204) = 9.79, p < .001, ƞp2 = .088, and US participants, F(2, 374) = 3.92, p = .02, ƞp2 = .013, expected distant future events to be more positive than events in the near future.
Table 2.
Means and standard deviations (SD) of all event variables by culture and temporal distance in Study 1 and Study 2
| Study 1 | |||||||||
| USA | China | ||||||||
| Week | Year | Distant | Week | Year | Distant | ||||
| Valence | 3.68 (2.27) | 4.99 (2.22) | 4.65 (2.42) | 4.85 (1.98) | 5.23 (1.77) | 5.65 (1.80) | |||
| Perceived control | -1.66 (3.22) | -2.00 (3.30) | -1.77 (3.51) | -2.77 (3.16) | -2.27 (3.05) | -2.79 (2.72) | |||
| Study 2 | |||||||||
| USA | China | Turkey | |||||||
| Week | Year | Distant | Week | Year | Distant | Week | Year | Distant | |
| Valence | 4.08 (2.42) | 4.97 (2.16) | 4.51 (2.50) | 5.22 (1.78) | 5.52 (1.70) | 5.79 (1.46) | 3.54 (2.32) | 4.14 (2.58) | 4.66 (2.51) |
| Perceived control | -1.88 (3.88) | -1.14 (4.14) | -1.59 (4.04) | -2.11 (3.28) | -2.66 (2.82) | -3.09 (3.12) | -1.91 (4.62) | -1.93 (4.40) | -1.47 (3.87) |
Fig. 1.
Mean emotional valence as a function of culture and temporal distance in (a) Study 1 and (b) Study 2. Error bars indicate standard error of the means. CH = Chinese, US = USA, TUR = Turkish
A same repeated-measure analysis was conducted on perceived country control. A main effect of culture emerged, F(1, 289) = 8.62, p = .004, ƞp2 = .029, whereby US participants reported greater perceived control (M = −1.81, SE = .15) than Chinese participants (M = −2.58, SE = .21). There was no other significant main effect or interaction.
The roles of country identification and national well-being
Given that the culture effects on event valence and perceived control were generally consistent across the time points, the average event valence and perceived control were computed and submitted to analyses to examine the roles of country identification and national well-being in mediating the effects of culture.2 An independent samples t-test showed that Chinese participants reported higher country identification (M = 5.00, SD = 1.09) than did US participants (M = 3.19, SD = 1.14), t(226.82) = 13.54, p < .001, d = 1.62. Chinese participants also reported higher national well-being (M = 55.1, SD = 13.2) than did US participants (M = 29.0, SD = 11.7), t(197.01) = 17.02, p < .001, d = 2.08.
Valence
We first examined the roles of country identification and national well-being in the valence of collective future events. A linear regression showed that country identification predicted positive valence of collective future events, β = .238, t(301) = 4.26, p < .001. Similarly, national well-being predicted positive valence of collective future events, β = .294, t(301) = 5.33, p < .001. Thus, all conditions for mediation analysis were met.
Next, we conducted two mediation models using the SPSS PROCESS macro (Hayes, 2013), in which country identification and national well-being mediated the relationship between culture and event valence (see Fig. 2a and b). We used model 4 with 5,000 bootstrapped samples and bias-corrected 95% confidence interval (CI) to estimate indirect effects. Chinese participants were coded as 0 and US participants were coded as 1. Based on the observed cultural differences in event valence, the mean valence score averaged across the time points was submitted to the mediation analysis. There was a partial correlation between country identification and national well-being controlling for culture, r(300) = .353, p < .001.
Fig. 2.
Mediation models for average event valence in Study 1. Values indicate standardized coefficients. + p < .07. * p < .05. **p < .01. *** p < .001
Country identification did not mediate the relationship between culture and valence, indirect effect = −.17, SE = .10, 95% CI [−.37, .02]. On the other hand, national well-being mediated the relationship, indirect effect = −.35, SE = .10, 95% CI [−.54, −.13]. Chinese participants reported higher national well-being, β = −1.49, t(301) = −17.63, p < .001, which in turn predicted positive valence of the events, β = .23, t(300) = 2.98, p = .003.
Perceived control
To examine whether country identification and national well-being explained cultural differences in perceived control, we conducted the same mediation models with perceived control as the dependent variable. A linear regression analysis on the mean perceived control scores further showed that country identification predicted lower perceived control of collective future events, β = −.178, t(301) = −3.13, p = .002. Similarly, national well-being predicted lower perceived control of collective future events, β = −.163, t(301) = −2.86, p = .004.
In the country identification model, although the effect of culture on perceived country control was no longer significant after including the mediator in the model, β = .22, t(300) = 1.49, p = .14, the decrease in the coefficient was not significant, indirect effect = .14, SE = .09, 95% [−.04, .33]. Similarly, national well-being did not mediate the relationship between culture and perceived country control, indirect effect = .11, SE = .13, 94% CI [−.15, .36].
Valence and pandemic-related concerns
Given that the data were collected during the COVID-19 pandemic, we checked whether participants’ health-related concerns would influence the valence of the anticipated events. An independent samples t-test showed that US participants worried more both for their own (M = 3.94, SD = 1.70) and their loved ones’ health (M = 5.09, SD = 1.51) than Chinese participants (Mown = 3.06, SD = 1.76; Mothers = 3.34, SD = 1.69), t(211.62) = −4.16, p < .001, and t(197.91) = −8.92, p < .001, respectively. This supports the observation that China was recovering from the effects of the pandemic and the conditions were not as devastating as in the USA at the time of the data collection. We then tested whether concerns related to the COVID-19 pandemic would influence the valence of the imagined events. We conducted linear regressions with worries about own and others’ health, controlling for culture, separately for events in 1 week, 1 year, and in 10–15 years. Neither worries about own health nor others’ health predicted valence of the events in 1 week and 1 year (ts < 1). However, concerns about own health marginally, β = −.117, t(297) = −1.82, p = .071, and concerns about others’ health significantly predicted valence of the 10–15 years events, β = .151, t(297) = 2.13, p = .034. We thus conducted the 3 (temporal distance) × 2 (culture) repeated-measures analysis controlling for own health and others’ health worry. The results remained identical.
In summary, Chinese participants anticipated their country’s future to be more positive than did US participants, especially for events in the next week and 10–15 years. Only national well-being explained the relationship between culture and valence whereby higher national well-being predicted more positive events for Chinese participants. US participants reported higher perceived country control of the events. However, neither country identification nor national well-being explained this relationship.
Study 2
In Study 2, we aimed to replicate the Study 1 findings in a community sample from Turkey, China, and the USA.
Method
Participants
A power analysis (G*Power; Faul et al., 2007) indicated that a sample size of 261 would be needed to achieve a power of 0.9 to detect the interaction between culture and temporal distance with an effect size of f = .10, α = .05. We maximized our sample size within funding constraints. A total of 377 adults from the US, China, and Turkey participated in the study. US participants (n = 155) were recruited through word of mouth or Amazon’s Mechanical Turk (M-Turk), and each received US$2 for their participation. Chinese participants (n = 106) were recruited through a Chinese website similar to M-Turk, and each received 10 Chinese Yuan (~1.5$) for their participation. Turkish participants (n = 116) were reached through word of mouth and study advertisements on social media. Nineteen participants (nUS = 9, nCH = 8, and nTR = 2) were dropped from the study (eight wrote personal events for all three time points, four did not provide usable data, and seven could not pass the attention check). The final sample consisted of 146 US (74 female, Mage = 40.51 years, SD = 12.42), 98 Chinese (59 female, Mage = 29.12 years, SD = 7.66), and 114 Turkish participants (74 female, Mage = 29.48 years, SD = 8.63). US participants were older than both Chinese (Mdiff = 11.47), t(355) = 8.66, p < .001, and Turkish participants (Mdiff = 11.00), t(355) = 8.67, p < .001. Among all US participants, 78.1% were European American, 8.9% were Asian or Asian American, 6.2% were African American, 5.5% were Hispanic or Latinx, and 1.4% were Native American. In addition, 51.4% of the US sample had an associate or a college degree, 33.6% had a graduate degree, 14.6% were college students, and 13.7% had a high school degree or less. Among Turkish participants, 53.5% had an associate or a college degree, 21.9% had a graduate degree, 21.1% were college students, and 3.5% had a high school degree or less. Due to an experimenter error, Chinese participants were asked what they were if they were not currently a college student (instead of what their educational level was). Among the 40 participants whose responses indicated educational level (e.g., “a PHD candidate,” “already graduated (from college),” and “elementary school degree”), 60% had an associate or a college degree, 35% had a graduate degree, and 5% had a middle school degree or less. Thus, all three samples were from primarily educated populations. The data from all three cultural groups were collected between April 2020 and June 2020. A second wave of Chinese data was collected between December 2020 and January 2021.
Materials and procedure
Materials and procedure were the same as in Study 1. The questionnaire was translated to Turkish by a native Turkish speaker and double-checked by another Turkish-English speaker. Internal reliabilities in the community sample for the Identity subscale of CSES was .76, and the Community Well-Being Scale was .96.3
Results
Preliminary analyses
We inspected all event descriptions to check whether the events were future-oriented and collective. A total of 1,074 collective future events were provided. Twenty-six of these events were personal or past events, and they were excluded from analyses. Therefore, degrees of freedom slightly differ across the analyses. Preliminary analyses showed no significant gender or education effects on valence and perceived control of the events. Gender and education were thus not considered further in analyses. Age was positively correlated with the valence of the next-year event, r(358)= .144, p = .007. Given the age difference between the samples, age was included as a covariate in all analyses. In addition, within the US sample, European Americans did not differ significantly from ethnic minority participants combined in national well-being (European American: M = 38.11, SD = 19.06; minorities: n = 32, M = 40.00, SD = 22.70), country identification (European American: M = 3.91, SD = 1.50; minorities: M = 4.34, SD = 1.56), average event valence (European American: M = 4.55, SD = 1.73; minorities: M = 4.46, SD = 1.85), or average perceived control (European American: M = −1.51, SD = 3.08; minorities: M = −1.82, SD = 3.01). The two waves of Chinese data did not differ significantly on any measure and were combined in subsequent analyses.
We examined the type of events that participants imagined for the three time points, coding event categories following the same procedure as in Study 1. The first author reviewed the Turkish event descriptions. One additional category, war/terrorism, was included. Inter-rater reliability ranged from κ = .80 to κ = .88. Table 3 presents the percentages of event categories by culture and temporal distance. Across all three groups, COVID-19-related events were the most prominent for 1-week events, although US participants were less likely than Chinese and Turkish participants to imagine COVID-19-related events and more likely to imagine events related to social issues. For 1-year events, US participants imagined mostly events related to election and politics, followed by COVID-19-related events. Turkish participants imagined mostly financial events, followed by election and politics and COVID-19-related events. COVID-19-related events remained the most prominent type for Chinese participants, followed by science/technology/space-related events. For 10- to 15-year events, events related to election/politics were the most prominent for US and Turkish participants, whereas science/technology/space-related events were the most prominent for the Chinese participants.
Table 3.
Percentages (%) of event categories by culture and temporal distance in Study 2
| Event categories | Week | Year | Distant | ||||||
|---|---|---|---|---|---|---|---|---|---|
| USA | China | Turkey | USA | China | Turkey | USA | China | Turkey | |
| Covid-19 | 36.8a | 53.8b | 64.9b | 25.3 | 25 | 18.9 | 3.6 | 7.3 | 1.8 |
| Election/politics | 12.5 | 8.6 | 4.5 | 36.3a | 12.5b | 18.9b | 30.4a | 15.6b | 42.5a |
| Financial | 10.4 | 8.6 | 5.4 | 5.5a | 12.5a | 27b | 6.5 | 14.6 | 15.9 |
| Science/tech/space | - | - | - | 2.7a | 16.7b | 2.7a | 13.8a | 47.2b | 9.7a |
| Celebration | 7.6 | 11.8 | 11.7 | 15.1 | 14.6 | 17.1 | 6.5 | 5.2 | 6.2 |
| Social issues | 16.7a | 2.2b | 2.7b | - | - | - | 9.4 | 7.3 | 4.4 |
| War/terrorism | - | - | - | - | - | - | 13.8a | 2.1b | 6.2a, b |
| Environment | 1.4 | 1.1 | 1.8 | 3.4 | 2.1 | 7.2 | 8a, b | 1a | 12.4b |
| Art/sports/culture | - | - | - | 2.1 | 6.3 | 3.6 | - | - | - |
| Other | 14.6 | 14 | 9 | 9.6 | 10.4 | 4.5 | 8 | 4.2 | 0.9 |
Note. The top three most frequently imagined event categories in each culture are boldfaced. Different superscripts (a, b) are used to denote cultures that significantly differed in event percentages at p < .05 (Bonferroni adjustment was applied). Sharing the same superscript or an absence of superscripts indicates that there was no difference in event percentages between cultures
Exploratory linear mixed-model analyses with culture as a fixed factor, age as a covariate, and subject as a random factor revealed cultural effects on COVID-19-related events F(2, 187.13) = 11.40, p < .001, R2 = .081, financial events, F(2, 120) = 10.29, p < .001, R2 = .148, and science/technology-related events F(2, 80.29) = 5.50, p = .006, R2 = .106. Follow-up Tukey HSD tests (p < .05) showed that Chinese participants (M = 5.30, SD = 1.65) were more positive in COVID-19-related events than US (M = 4.27, SD = 2.38) and Turkish participants (M = 3.80, SD = 2.35), who did not significantly differ from each other. Compared with Turkish participants, Chinese participants were also more positive in financial events (Chinese M = 5.50, SD = 1.56; Turkish M = 3.28, SD = 2.62) and science/technology-related events (Chinese M = 6.10, SD = 1.13; Turkish M = 4.64, SD = 2.17).
In the following sections, we first examined cultural and temporal effects on the characteristics—event valence and perceived country control—of the collective future events. Then, we tested the roles of country identification and national well-being in event valence and perceived control.
Characteristics of the collective future events
Table 2 bottom panel presents descriptive statistics for valence and perceived control by culture and temporal distance. To investigate the effects of culture and temporal distance on event valence, we conducted a 3 (temporal distance: week vs. year vs. 10–15 years) × 3 (culture: US vs. China vs. Turkey) repeated-measures ANCOVA, with time being a within-subjects factor, culture being a between-subjects factor, and age as a covariate. The analysis revealed a main effect of culture, F(2, 334) = 20.20, p < .001, ƞp2 = .108. Tukey HSD tests (p < .05) showed that across all timepoints, Chinese participants anticipated future events to be more positive than did US and Turkish participants, who did not differ significantly from each other. In addition, a marginally significant temporal distance effect emerged, F(2, 668) = 2.96, p = .053, ƞp2 = .009, which suggests a positive trend towards the distant future. There was no significant Culture × Temporal distance interaction.
To investigate the effects of culture and temporal distance on perceived control of the events, we conducted the same repeated-measures ANCOVA on perceived country control. The analysis revealed a main effect of culture, F(2, 333) = 3.14, p = .045, ƞp2 = .018, and marginally significant Culture × Temporal distance interaction, F(4, 666) = 2.15, p = .073, ƞp2 = .013. Tukey HSD tests (p < .05) showed that although there was no significant difference in perceived control for the events in the next week, US participants reported higher control than Chinese participants for events in the next year and in 10–15 years. Turkish participants reported higher control than Chinese participants for events in 10–15 years.
The roles of country identification and national well-being
Given that the culture effects on event valence and perceived control were generally consistent across the time points, the average event valence and perceived control were computed and submitted to analyses to examine the roles of country identification and national well-being in mediating the effects of culture.4 A one-way analysis of variance with age as covariate showed a significant culture effect on country identification, F(2, 354) = 17.19, p < .001. Follow-up Tukey HSD tests (p < .05) showed that Chinese participants reported higher country identification (M = 5.01, SD = 1.01) than did Turkish (M = 4.49, SD = 1.29) and US participants (M = 4.01, SD = 1.52). Turkish participants reported higher country identification than did US participants. Three countries also differed in the level of national well-being, F(2, 354) = 89.40, p < .001. Tukey HSD tests showed that Chinese participants reported higher national well-being (M = 59.33, SD = 14.68) than did US (M = 38.53, SD = 19.85) and Turkish participants (M = 29.75, SD = 11.95). US participants reported higher national well-being than did Turkish participants.
Valence
We first examined the roles of country identification and national well-being in the valence of collective future events. A linear regression analysis on the average valence score across three time points further showed that country identification predicted positive valence of collective future events, β = .238, t(356) = 4.63, p < .001. Similarly, national well-being predicted positive valence of collective future events, β = .348, t(356) = 7.01, p < .001.
Next, we conducted two mediation models using the SPSS PROCESS macro (Hayes, 2013), in which country identification and national well-being mediated the relationship between culture and event valence (Fig. 3a and b). Chinese participants were coded as 0, Turkish participants as 1, and US participants as 2. Age was included as a covariate in the models. There was a partial correlation between country identification and national well-being controlling for culture, r(355) = .432, p < .001.
Fig. 3.
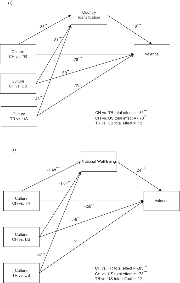
Mediation models for average event valence in Study 2. CH = China; TR = Turkey. * p < .05. **p < .01. *** p < .001
When we compared Chinese participants with Turkish participants, both country identification and national well-being mediated the relationship between culture and event valence, country identification indirect effect = −.07, SE = .03, 95% CI [−.13, −.02]; national well-being indirect effect = −.35, SE = .09, 95% CI [ −.52, −.18]. Chinese participants had higher country identification than Turkish participants, β = −.38, t(354) = −2.87, p = .004, which in turn predicted more positive events, β = .18, t(353) = 3.54, p < .001. Similarly, Chinese participants had higher national well-being, β = −1.48, t(354) = −13.17, p < .001, and the higher national well-being, the more positive were the events, β = .24, t(353) = 3.94, p < .001.
Comparing Chinese and US participants revealed similar results. Both country identification and national well-being mediated the relationship between culture and event valence, country identification indirect effect = −.15, SE = .05, 95% CI [−.25, −.05]; national well-being indirect effect = −.25, SE = .07, 95% CI [−.38, −.12]. Chinese participants had higher country identification than US participants, β = −.81, t(354) = −5.86, p < .001, which in turn predicted more positive events, β = .28, t(353) = 3.54, p < .001. They also had higher national well-being than did US participants, β = −1.04, t(354) = −8.88, p < .001, which predicted more positive events, β = .24, t(353) = 3.94, p < .001.
When we compared Turkish and US participants, country identification mediated the relationship between culture and event valence, indirect effect = −.08, SE = .03, 95% CI [−.16, −.02]. Turkish participants reported higher country identification, β = −.43, t(354) = −3.24, p = .001, which in turn predicted more positive events, β = .18, t(353) = 3.54, p < .001. National well-being also mediated the relationship between culture and event valence, indirect effect = .10, SE = .04, 95% CI [.04, .18]. US participants reported higher national well-being, β = .44, t(354) = 3.91, p < .001, which in turn predicted more positive events, β = .24, t(353) = 3.94, p < .001.
Perceived control
To examine whether country identification and national well-being explained cultural differences in perceived control, we conducted the same mediation models with perceived control score averaged across the time points as the dependent variable. A linear regression showed that national well-being predicted lower perceived control of collective future events, β = −.25, t(335) = −4.62, p < .001. However, country identification did not predict perceived control of collective future events, β = −.05, t(335) = −.92, p = .36. Therefore, we conducted mediation analysis only for national well-being.
National well-being completely mediated the relationship between culture and perceived control both for Chinese-Turkish comparison, indirect effect = .37, SE = .10, 95% CI [.18, .54], and Chinese-US comparison, indirect effect = .26, SE = .07, 95% CI [.12, .42]. Chinese participants had higher national well-being than Turkish, β = −1.48, t(354) = −13.17, p < .001, and US participants, β = −1.04, t(354) = −8.88, p < .001, which in turn predicted lower perceived control for Chinese participants, β = −.25, t(353) = −3.92, p < .001. When we compared Turkish and US participants, national well-being mediated the relationship between culture and perceived control, indirect effect = −.11, SE = .04, 95% CI [−.20, −.04]. US participants reported higher national well-being, β = .44, t(354) = 3.91, p < .001, which in turn predicted lower perceived control of events, β = −.25, t(353) = −3.92, p < .001.
Valence and pandemic-related concerns
We conducted a one-way analysis of variance to examine whether participants’ health-related concerns would influence the valence of the anticipated events. The analysis revealed significant effects of concerns about own health and others’ health, F(2, 355) = 5.25, p = .006, and F(2, 355) = 24.03, p < .001, respectively. A follow-up Tukey HSD test showed that Turkish participants were worried about their own (M = 4.06, SD = 2.03) and others’ health (M = 5.26, SD = 1.89) more than Chinese participants (Mown = 3.24, SD = 1.71; Mothers = 3.60, SD = 1.58). Turkish participants were also more worried about others’ health than US participants (M = 4.58, SD = 1.72). US participants were more worried about others’ health than were Chinese participants.
Next, we tested whether concerns related to the COVID-19 pandemic influenced the valence of the imagined events. We conducted linear regression on the valence of the events with concerns about own and others’ health as predictors, controlling for culture and age. Neither concerns about own health nor others’ health predicted the valence of the events in 1 week and 1 year (ts < 1). However, own health worry predicted significantly, β = −.15, t(342) = −2.27, p = .024, and others’ health worry marginally predicted the valence of the events in 10–15 years beyond the effects of culture and age, β = .13, t(342) = 1.80, p = .073. We repeated the 3 (temporal distance) × 3 (culture) repeated-measures analysis controlling for own health and others’ health worry. Results remained identical.
In summary, Chinese participants expected events to be more positive for their country than did US and Turkish participants. In general, all three cultures expected events to be more positive in the distant future than the near future. The relationship between culture and event valence was explained by country identification and national well-being, whereby higher country identification and national well-being predicted positive events for Chinese participants. On the other hand, both US and Turkish participants reported higher perceived country control than did Chinese, particularly for distant events. Having higher national well-being compared to US and Turkish participants predicted lower perceived country control for Chinese participants.
General discussion
The present studies are the first to examine collective future thinking across cultures. We investigated the valence of collective future events and further examined the roles of country identification and national well-being in predicting event valence and moderating cultural effects on event valence among the US, Turkish, and Chinese adults. In addition, we examined perceived own country control in the collective future events. Including both college students and community samples allowed us to replicate and generalize our findings. Integrating cultural and individual levels of analyses, the present studies not only identified important cultural variations in collective future thinking but also revealed individual-level mechanisms—country identification and national well-being—that gave rise to the cultural variations (Wang, 2016, 2018).
Valence and country control of collective future events
Consistent with our hypothesis, Chinese participants anticipated future events to be more positive than did US participants (Study 1), particularly for events in the next week and 10–15 years. Chinese participants also anticipated future events to be more positive than both US and Turkish participants across all three time points (Study 2), who did not differ from each other. These findings suggest that people think differently about their country’s future and that, contrary to Westerners’ greater positivity in their personal future (Lam et al., 2005; Shao et al., 2010), Chinese are more optimistic than Westerners about their collective future. These differences were consistent across the two studies and the effects were nontrivial. They reflect a variety of cultural-societal factors such as economic growth, political stability, nationalism, and combat against COVID-19 that differed in the three countries. Furthermore, the types of events participants imagined also reflect the current circumstances in a given country: Although COVID-19-related events were prominent across all groups especially for the near future, Chinese participants frequently imagined events about science, technological innovations, and space-related developments, whereas US and Turkish participants were often occupied with events related to elections, politics, war and violence, and environmental issues. These findings highlight the importance of the macro-cultural context in shaping collective future thinking. They have important real-life implications, such as for media communication and policy making.
Notably, although collective future events may exhibit a negative bias relative to personal future events (Shrikanth et al., 2018; Yamashiro & Roediger III, 2019), the mean valence scores in the current studies were all higher than 4 (i.e., neutral) except for the 1-week events in the US college sample (Study 1) and the Turkish community sample (Study 2). As noted earlier, methodological differences may have contributed to the different findings in prior research that tapped upon accessibility versus availability of positive and negative collective future events. Similar to Topcu and Hirst (2020), our participants took as much time as they needed to imagine the events in their countries’ futures, which might have contributed to the general positivity of the events in all three groups. It is also important to note that all studies to date on collective future thinking, whether they identified a negative bias or not, have used a (confidential) written format in the task to minimize social desirability concerns, if any.
We also examined perceived control of collective future events, a characteristic less studied in prior research. As predicted, US participants reported higher perceived control than did Chinese and Turkish participants. These results are in line with cross-cultural findings showing that in contrast to the dominance of internal locus of control among Westerners, Easterners tend to view external powerful forces, such as circumstances, fate, luck, and chance as playing a larger role in the control of events (Hamid, 1994; Hsieh et al., 1969; Smith et al., 1995). Our studies extend the literature by showing that cultural differences in perceived control are also evident for the collective future, which has important policy implications.
Country identification and national well-being as underlying mechanisms
We tested country identification and perceived national well-being as predictors of event variables. As we expected, Chinese participants identified more with their country and reported higher national well-being than did Americans and Turks. This is consistent with the notion that collective identity—the concept of “we-ness”—does not exist in a vacuum. Instead, it emerges and expands in response to collective activities and changes (Snow & Corrigall-Brown, 2015). In particular, the prosperity of a country may contribute to its citizen’s country identification and positive views of the nation (Doosje et al., 2002; Fisher & Wakefield, 1998; Stevenson & Wolfers, 2008). At the time of the data collection, China was one of the few countries that successfully took the pandemic under control and expanded its economy (Burki, 2020; Myers et al., 2021). Furthermore, in line with its long history of nationalism, China has continued to strengthen its nationalist discourse to promote unity and identity among its members (Boylan et al., 2021; Wong, 2020; Zheng, 1999). In contrast, the USA and Turkey struggled with the pandemic, economic downturn, and social-political upheavals (Burki, 2020; Taylor, 2021; Yıldırım, 2020). These factors might have contributed to greater country identification and national well-being among the Chinese than in Americans and Turks.
Moreover, these variables explained the cultural differences in event valence. In Study 1, Chinese participants reported higher national well-being than did Americans, which, in turn, predicted more positive future simulations among the Chinese. In Study 2, compared with US and Turkish participants, Chinese participants reported higher country identification and higher national well-being, both of which, in turn, predicted more positive future simulations. Country identification and national well-being also showed significant indirect effects for the US-Turkey comparison of event valence. Country identification was not a significant mediator in Study 1, possibly due to the homogeneity of the college sample for country identification. Nevertheless, the general pattern of results is in line with the findings of personal future thinking, whereby personal identity and subjective well-being influence the valence of simulated future personal events (MacLeod & Conway, 2005; MacLeod & Conway, 2007; Shao et al., 2010). In the context of collective future thinking, strong country identification may serve as a collective motivational system for optimistic forecasting of the country’s future, and perceived great national well-being may provide a positive outlook for valence-congruent collective future simulations.
Interestingly, although Turks reported higher country identification than did US participants, they did not report higher national well-being or expect events to be more positive for their country. These findings may reflect a case unique to Turks. For instance, Imamoğlu et al. (1993) observed that although Turks had larger social networks and more interactions than did Swedes, they felt lonelier and were less satisfied with their lives than Swedes. The researchers explained that this might reflect a discrepancy between expectations and experiences among the Turks. Pertaining to collective future thinking, although Turks identified with their country, the discrepancy between their expectations and experiences (e.g., economic crisis, lack of freedom of speech, social unrest, etc.) might have contributed to their low national well-being and high pessimism for the country’s future. For example, it was reported that although Americans and Turks felt equally close to their country and being an American or Turk was equally important, Turks were less proud of the way democracy worked (56.6% vs. 80.2%) and economic success than Americans (62.6% vs. 80.3%) (GESIS-Leibniz Institute for Social Sciences, 2015). The similar strong connection to the Turkish identity and yet dissatisfaction with the country’s political and economic situations have been observed in more recent surveys (Eissenstat, 2018; Hoffman et al., 2018).
Pertaining to the perceived control of future events, country identification and national well-being did not explain the relationship between culture and perceived control in the college sample. However, in the community sample, the lower national well-being explained higher perceived control of future events. These findings might be related to the collective agency and socio-political situation in these countries at the time of the data collection. Collective identity is often accompanied by collective agency, where shared concerns and threats call for collective actions (Snow & Corrigall-Brown, 2015). It is possible that US and Turkish participants felt threatened by COVID-19 and their respective upcoming elections, which might have provoked their need for a collective agency. The call for taking collective actions to stop the spread of the pandemic and to vote for the future of the country might have triggered the role of the country in perceived control of future events. This possibility is evidenced in the finding that the US and Turkish participants were more worried about COVID’s impacts than were the Chinese.
Limitations and future directions
Our studies combined cultural and individual levels of analyses to examine collective future thinking and its underlying mechanisms (Wang, 2016, 2018). They yielded important and original findings. Still, further experimental studies are required to draw causal conclusions. In addition, longitudinal studies can reveal the developmental trajectory of collective future thoughts. For instance, once a positive event for a nation may turn out to be negative if conditions that created the positive events change over time (Zittoun & Gillespie, 2018). Also, how people view their country’s future may evolve in time as a result of the societal-cultural factors in the country (van Der Duin et al., 2020). Thus, it will be important to examine changes in country identification over time and how that affects the valence of collective future thinking.
In the present studies, we tested two factors underlying the relationship between culture and the valence of future events. There are likely many other factors that can shape collective future thinking. For example, the political affiliation of individuals in the same country may play a role. Topçu and Hirst (Topcu & Hirst, 2020) found that political affiliation influenced the content of remembered and imagined collective events. Mutlutürk et al. (2021) observed that individuals represented public events differently according to their voting behavior. Future research should examine the influence of political affiliation (e.g., supporters vs. opponents of the ruling party) in connection with the level of polarization within a country on collective future projections. Another important factor to examine is ethnicity/race and majority versus minority group status within a society. In our studies, racial/ethnic identities among the US participants did not influence the valence of future events, consistent with recent findings showing that African American children hold similar future outlooks to those of their White peers (Bamford & Lagattuta, 2020). Still, additional research of different racial/ethnic groups within a country will provide useful insight into collective future thinking.
Moreover, although we coded the type of events participants imagined in the current studies, we were unable to test cultural effect on event valence within each event category given the small number of participants who provided events in a category. Findings from our exploratory analyses on the top reported events overall supported our view that macro-cultural factors influence the expected valence of collective future events. Future research should examine specific types of collective future events (e.g., environment, social issues) in relation to their valence. Future research should also examine other dimensions of collective future thinking, such as narrative meaning making and the level of specificity, and how they are influenced by cultural and individual factors. Interestingly, in both of our studies, participants’ worries about their own or others’ health were associated with the anticipation of a gloomier distant, but not near, collective future. Perhaps the distant future, being higher-construal and more abstract than the near future (Trope & Liberman, 2010; Wang et al., 2011), is subject to greater pessimism as a result of one’s current negative states. This possibility needs to be tested in future research. In addition, while our Chinese and US participants received payment for their participation, Turkish participants did not. Although there was no indication that the lack of payment negatively affected Turkish participants’ motivation to complete the survey or the quality of their responses, this limitation should be addressed in future research. Finally, future research should examine general anticipations for one’s country’s future and how that is related to episodic collective future thinking.
Conclusion
Collective future thinking, like many—if not all—cognitive processes, is subject to the influence of macro-cultural factors (Wang, 2016, 2021). It is not a stable or permanent construct formulated within the individual mind, in isolation from the larger cultural context. Instead, individuals anticipate their country’s future in response to the economic-sociocultural-political circumstances of the society at a particular historical moment in time. When culture and society transform, so does the mind. A historical perspective on cultural influences on cognitive processes and functioning is critical in cultural research (Greenfield, 2018; Varnum & Grossmann, 2017; Wang, 2018).
Imagining the future is a powerful tool in guiding the present actions and eventually in creating a desirable future. Our findings demonstrate that the imagination of the country’s future may be influenced by a variety of societal-cultural factors such that people are more optimistic about their country’s future when their country is performing well. Our findings further reveal two important individual-level mechanisms, whereby those who more strongly identify with their country and those who perceive greater national well-being tend to hold a more optimistic future outlook for their country. These individual-level mechanisms, in turn, give rise to cultural differences in future thinking. Our studies attest that to truly understand collective future thinking and cognitive processes more generally, research must go beyond WEIRD populations and examine the cognitive constructs and processes in diverse cultural communities.
Acknowledgements
The authors would like to thank members of the Cornell Culture and Cognition lab, particularly Ezgi Bilgin, Yunru Ma, and Anna Hu, for their assistance with the project. This research was supported by a grant from the Cornell Atkinson Center for Sustainability to Qi Wang.
Declarations
Conflicts of interest
The authors declare they have no conflicts of interest.
Ethics approval
The questionnaire and methodology for this study were approved by Cornell University Institutional Review Board for Human Participant Research. Protocol No: 1705007173
Consent to participate
Informed consent was obtained from all individual participants included in the study.
Footnotes
US participants also wrote about personal future events and both US and Chinese participants completed a Flourishing Scale and a Future Time Perspective Scale. These measures are for separate research questions and are not included in the current study.
Separate analyses for each time point revealed similar patterns of results, with the indirect effects (of the mediators) being significant in all models. We therefore report results of the average scores across the time points.
US and Turkish participants also wrote about personal future events that were intended for a separate research question and were not included in the current study.
Separate analyses for each time point revealed similar patterns of results, with the indirect effects (of the mediators) being significant in all models. We therefore report results of the average scores across the time points.
The original version of this article was revised: Affiliation 2 has been updated and ORCIDs added for two coauthors since this article’s original publication.
Publisher’s note
Springer Nature remains neutral with regard to jurisdictional claims in published maps and institutional affiliations.
Open practices statements
The data and materials for all experiments are available from the Open Science Framework at https://osf.io/hn8q7/
Change history
6/7/2022
A Correction to this paper has been published: 10.3758/s13421-022-01336-9
References
- Amiot CE, Sansfaçon S. Motivations to identify with social groups: A look at their positive and negative consequences. Group Dynamics: Theory, Research, and Practice. 2011;15(2):105–127. doi: 10.1037/a0023158. [DOI] [Google Scholar]
- Atance CM, O'Neill DK. Episodic future thinking. Trends in Cognitive Sciences. 2001;5(12):533–539. doi: 10.1016/s1364-6613(00)01804-0. [DOI] [PubMed] [Google Scholar]
- Bain PG, Hornsey MJ, Bongiorno R, Kashima Y, Crimston D. Collective futures: How projections about the future of society are related to actions and attitudes supporting social change. Personality and Social Psychology Bulletin. 2013;39(4):523–539. doi: 10.1177/0146167213478200. [DOI] [PubMed] [Google Scholar]
- Bamford C, Lagattuta KH. Optimism and wishful thinking: Consistency across populations in children’s expectations for the future. Child Development. 2020;91:1116–1134. doi: 10.1111/cdev.13293. [DOI] [PubMed] [Google Scholar]
- Bauer, L., Broady, K., Edelberg, W., & O’Donnell, J. (2020, September 17). Ten facts about COVID-19 and U.S. economy. Brookings. https://www.brookings.edu/research/ten-facts-about-covid-19-and-the-u-s-economy/
- Bilewicz M, Skrodzka M, Olko J, Lewińska T. The double-edged sword of identification. The divergent effects of identification on acculturation stress among Ukrainian immigrants in Poland. International Journal of Intercultural Relations. 2021;83:177–186. doi: 10.1016/j.ijintrel.2021.06.009. [DOI] [Google Scholar]
- Boduroglu, A., & Hacibektasoglu, D. (2020). How perceived dominance of groups affect negativity bias in collective future thinking [Conference presentation abstract]. 61th Annual Meeting of Psychonomic Society. https://cdn.ymaws.com/www.psychonomic.org/resource/resmgr/annual_meeting/2020_meeting/2020_abstract_book/PS20_Abstracts_V10_linked_lo.pdf
- Boylan BM, McBeath J, Wang B. US–China Relations: Nationalism, the trade war, and COVID-19. Fudan Journal of the Humanities and Social Sciences. 2021;14:23–40. doi: 10.1007/s40647-020-00302-6. [DOI] [Google Scholar]
- Burki T. China's successful control of COVID-19. The Lancet Infectious Diseases. 2020;20(11):1240–1241. doi: 10.1016/S1473-3099(20)30800-8. [DOI] [PMC free article] [PubMed] [Google Scholar]
- Can, Y. K. (2019). Nationalism in Turkey: Roots and contemporary answers. Heinrich Böll Stiftung.https://tr.boell.org/en/2019/08/22/nationalism-turkey-roots-and-contemporary-answers
- Cinnirella M. Exploring temporal aspects of social identity: The concept of possible social identities. European Journal of Social Psychology. 1998;28(2):227–248. doi: 10.1002/(SICI)1099-0992(199803/04)28:2<227::AID-EJSP866>3.0.CO;2-X. [DOI] [Google Scholar]
- Conway MA. Memory and the self. Journal of Memory and Language. 2005;53:594–628. doi: 10.1016/j.jml.2005.08.005. [DOI] [Google Scholar]
- Crocker J, Luhtanen R, Blaine B, Broadnax S. Collective self-esteem and psychological well-being among White, Black, and Asian college students. Personality and Social Psychology Bulletin. 1994;20(5):503–513. doi: 10.1177/0146167294205007. [DOI] [Google Scholar]
- D'Argembeau A, Van der Linden M. Phenomenal characteristics associated with projecting oneself back into the past and forward into the future: Influence of valence and temporal distance. Consciousness and Cognition. 2004;13(4):844–858. doi: 10.1016/j.concog.2004.07.007. [DOI] [PubMed] [Google Scholar]
- Dickson, B. J. (2016). The dictator’s dilemma: The Chinese Communist Party’s strategy for survival. Oxford University Press.
- Doosje B, Spears R, Ellemers N. Social identity as both cause and effect: The development of group identification in response to anticipated and actual changes in the intergroup status hierarchy. The British Journal of Social Psychology. 2002;41(1):57–76. doi: 10.1348/014466602165054. [DOI] [PubMed] [Google Scholar]
- Doosje BEJ, Branscombe NR, Spears R, Manstead ASR. Antecedents and consequences of group-based guilt: The effects of ingroup identification. Group Processes & Intergroup relations. 2006;9:325–338. doi: 10.1177/1368430206064637. [DOI] [Google Scholar]
- Eissenstat, H. (2018, February 14). How new is Turkey’s “new nationalism”? Center for American Progress. https://www.americanprogress.org/issues/security/news/2018/02/14/446403/new-turkeys-new-nationalism/
- Ellemers N. The influence of socio-structural variables on identity management strategies. European Review of Social Psychology. 1993;4(1):27–57. doi: 10.1080/14792779343000013. [DOI] [Google Scholar]
- Faul F, Erdfelder E, Lang AG, Buchner A. G*Power 3: A flexible statistical power analysis program for the social, behavioral, and biomedical sciences. Behavior Research Methods. 2007;39(2):175–191. doi: 10.3758/bf03193146. [DOI] [PubMed] [Google Scholar]
- Fisher RJ, Wakefield F. Factors leading to group identification: A field study of winners and losers. Psychology & Marketing. 1998;15(1):23–40. doi: 10.1002/(SICI)1520-6793(199801)15:1<23::AID-MAR3>3.0.CO;2-P. [DOI] [Google Scholar]
- GESIS-Leibniz Institute for Social Sciences (2015). ISSP 2013-National identity, variable report (ZA5950; Version 2.0.0) [Data set]. GESIS. 10.4232/1.12312
- Greenfield PM. Studying social change, culture, and human development: A theoretical framework and methodological guidelines. Developmental Review. 2018;50(Part A):16–30. doi: 10.1016/j.dr.2018.05.003. [DOI] [Google Scholar]
- Gries P, Zhang Q, Crowson H, Cai H. Patriotism, nationalism and China's US policy: Structures and consequences of Chinese national identity. The China Quarterly. 2011;205:1–17. doi: 10.1017/S0305741010001360. [DOI] [Google Scholar]
- Halpin, J., Werz, M., Makovsky, A., & Hoffman, M. (2018, February 11). Is Turkey experiencing a new nationalism? An examination of public attitudes on Turkish self-perception. Center for American Progress. https://www.americanprogress.org/issues/security/reports/2018/02/11/445620/turkey-experiencing-new-nationalism/
- Hamid PN. Self-monitoring, locus of control, and social encounters of Chinese and New Zealand students. Journal of Cross-Cultural Psychology. 1994;25(3):353–368. doi: 10.1177/0022022194253004. [DOI] [Google Scholar]
- Hayes, A. F. (2013). Introduction to mediation, moderation, and conditional process analysis. A regression-based approach. The Guilford Press.
- Heine, S. J. (2016). Cultural psychology (3rd ed.). W.W. Norton.
- Hsieh TT, Shybut J, Lotsof EJ. Internal versus external control and ethnic group membership: A cross-cultural comparison. Journal of Consulting and Clinical Psychology. 1969;33(1):122–124. doi: 10.1037/h0027341. [DOI] [PubMed] [Google Scholar]
- Hoffman, M., Werz, M., & Halpin, J. (2018, February 11). Turkey’s “new nationalism” amid shifting politics. Center for American Progress. https://www.americanprogress.org/issues/security/reports/2018/02/11/446164/turkeys-new-nationalism-amid-shifting-politics/
- Imamoğlu O, Küller R, Imamoğlu V, Küller M. Social psychological worlds of Swedes and Turks in around retirement. Journal of Cross-Cultural Psychology. 1993;24:26–41. doi: 10.1177/0022022193241002. [DOI] [Google Scholar]
- Jeon HJ, Wang Q, Burrow AL, Ratner K. Perspectives of future health in self and others: The moderating role of culture. Journal of Health Psychology. 2020;25(5):703–712. doi: 10.1177/1359105317730897. [DOI] [PubMed] [Google Scholar]
- Kelman HC. Processes of opinion change. Public Opinion Quarterly. 1961;25:57–78. doi: 10.1086/266996. [DOI] [Google Scholar]
- Lalwani, N., & Winter-Levy, S. (2016, October 4). Read this book if you want to know what China’s citizens really think about their government. The Washington Post.https://www.washingtonpost.com/news/monkey-cage/wp/2016/10/04/read-this-book-if-you-want-to-know-what-chinas-citizens-really-think-about-their-government/
- Lam KC, Buehler R, McFarland C, Ross M, Cheung I. Cultural differences in affective forecasting: the role of focalism. Personality & Social Psychology Bulletin. 2005;31(9):1296–1309. doi: 10.1177/0146167205274691. [DOI] [PubMed] [Google Scholar]
- Luhtanen R, Crocker J. A collective self-esteem scale: Self-evaluation of one’s social identity. Personality and Social Psychology Bulletin. 1992;18(3):302–318. doi: 10.1177/0146167292183006. [DOI] [Google Scholar]
- Macleod AK, Conway C. Well-being and the anticipation of future positive experiences: The role of income, social networks, and planning ability. Cognition & Emotion. 2005;19(3):357–374. doi: 10.1080/02699930441000247. [DOI] [PubMed] [Google Scholar]
- MacLeod AK, Conway C. Well-being and positive future thinking for the self versus others. Cognition and Emotion. 2007;21(5):1114–1124. doi: 10.1080/02699930601109507. [DOI] [Google Scholar]
- Mutlutürk, A., Tekcan, A. İ., & Boduroglu, A. (2021). The structure and organization of collective memory representations. Memory Studies. 10.1177/1750698020988778
- Myers, S. L., Bradsher, K., Wee, S. L., & Buckley, C. (2021). Power, patriotism and 1.4 billion people: How China beat the virus and roared back. The New York Times.https://www.nytimes.com/2021/02/05/world/asia/china-covid-economy.html
- Oner S, Gulgoz S. Representing the collective past: public event memories and future simulations in Turkey. Memory. 2020;28(3):386–398. doi: 10.1080/09658211.2020.1727520. [DOI] [PubMed] [Google Scholar]
- Peetz J, Wohl M. Perceiving time through group-based glasses: Collective temporal orientation. The British Journal of Social Psychology. 2019;58(3):609–629. doi: 10.1111/bjso.12291. [DOI] [PubMed] [Google Scholar]
- Peterson C, Wang Q, Hou Y. “When I was little”: Childhood recollections in Chinese and European Canadian grade school children. Child Development. 2009;80(2):506–518. doi: 10.1111/j.1467-8624.2009.01275.x. [DOI] [PubMed] [Google Scholar]
- Pew Research Center (2021, May 5) . Topline questionnaire. https://www.pewresearch.org/global/wp-content/uploads/sites/2/2021/05/PG_2021.05.05_Cultural-Grievances_TOPLINE.pdf
- Roach, A. L. (2016). Spectrums of nationalism: A comparison of American and Chinese nationalism. Inquiries Journal, 8(9). http://www.inquiriesjournal.com/a?id=1444
- Sahdra, B., & Ross, M. (2007). Group Identification and Historical Memory. Personality and Social Psychology Bulletin,33(3), 384–395. 10.1177/0146167206296103 [DOI] [PubMed]
- Sani F, Bowe M, Herrera M. Perceived collective continuity and social well-being: Exploring the connections. European Journal of Social Psychology. 2008;38:365–374. doi: 10.1002/ejsp.461. [DOI] [Google Scholar]
- Schacter DL, Addis DR. The cognitive neuroscience of constructive memory: remembering the past and imagining the future. Philosophical Transactions of the Royal Society of LondonSeries B, Biological Sciences. 2007;362(1481):773–786. doi: 10.1098/rstb.2007.2087. [DOI] [PMC free article] [PubMed] [Google Scholar]
- Shao Y, Yao X, Ceci SJ, Wang Q. Does the self drive mental time travel? Memory. 2010;18(8):855–862. doi: 10.1080/09658211.2010.514272. [DOI] [PubMed] [Google Scholar]
- Shrikanth S, Szpunar KK. The good old days and the bad old days: evidence for a valence-based dissociation between personal and public memory. Memory. 2021;29(2):180–192. doi: 10.1080/09658211.2020.1871024. [DOI] [PubMed] [Google Scholar]
- Silver, L., Fagan, M., Connaughton, A., & Mordecai, M. (2021). Views about national identity becoming more inclusive in U.S., Western Europe. Pew Research Center. https://www.pewresearch.org/global/2021/05/05/1-national-identity/
- Shrikanth S, Szpunar PM, Szpunar KK. Staying positive in a dystopian future: A novel dissociation between personal and collective cognition. Journal of Experimental Psychology: General. 2018;147:1200–1210. doi: 10.1037/xge0000421. [DOI] [PubMed] [Google Scholar]
- Smith PB, Trompenaars F, Dugan S. The Rotter locus of control scale in 43 countries: A test of cultural relativity. International Journal of Psychology. 1995;30(3):377–400. doi: 10.1080/00207599508246576. [DOI] [Google Scholar]
- Snow, D. A. & Corrigall-Brown, C. (2015). Collective identity. In J. D. Wright (Ed.), International encyclopedia of the social & behavioral sciences (2nd ed., pp. 174–180). 10.1016/B978-0-08-097086-8.10403-9
- Stevenson, B., & Wolfers, J. (2008). Economic growth and subjective well-being: Reassessing the Easterling Paradox (NBER Working Paper No. 14282). National Bureau of Economic Research. https://www.nber.org/system/files/working_papers/w14282/w14282.pdf
- Szpunar PM, Szpunar KK. Collective future thought: Concept, function, and implications for collective memory studies. Memory Studies. 2016;9:376–389. doi: 10.1177/1750698015615660. [DOI] [Google Scholar]
- Tajfel H, Turner JC. The Social Identity Theory of Intergroup Behavior. In: Jost JT, Sidanius J, editors. Political psychology: Key readings. Psychology Press; 2004. pp. 276–293. [Google Scholar]
- Taylor, D. B. (2021, September 7). George Floyd protests: A timeline. The New York Times. https://www.nytimes.com/article/george-floyd-protests-timeline.html
- Topcu MN, Hirst W. Remembering a nation’s past to imagine its future: The role of event specificity, phenomenology, valence, and perceived agency. Journal of Experimental Psychology: Learning, Memory, and Cognition. 2020;46(3):563–579. doi: 10.1037/xlm0000746. [DOI] [PubMed] [Google Scholar]
- Trope Y, Liberman N. Construal-level theory of psychological distance. Psychological Review. 2010;117(2):440–463. doi: 10.1037/a0018963. [DOI] [PMC free article] [PubMed] [Google Scholar]
- van der Duin P, Lodder P, Snijders D. Dutch doubts and desires. Exploring citizen opinions on future and technology. Futures. 2020;124:102637. doi: 10.1016/j.futures.2020.102637. [DOI] [Google Scholar]
- van Zomeren M, Leach CW, Spears R. Does group efficacy increase group identification? Resolving their paradoxical relationship. Journal of Experimental Social Psychology. 2010;46(6):1055–1060. doi: 10.1016/j.jesp.2010.05.006. [DOI] [Google Scholar]
- VanderWeele TJ. Measures of community well-being: A template. International Journal of Community Well-Being. 2019;2:253–275. doi: 10.1007/s42413-019-00036-8. [DOI] [Google Scholar]
- Varnum MEW, Grossmann I. Cultural change: The how and the why. Perspectives on Psychological Science. 2017;12:956–972. doi: 10.1177/1745691617699971. [DOI] [PubMed] [Google Scholar]
- Vaswani K. BBC. 2021. Covid-19: China’s economy picks up, bucking global trend. [Google Scholar]
- Wang, Q. (2013). The autobiographical self in time and culture. Oxford University Press. 10.1093/acprof:oso/9780199737833.001.0001
- Wang Q. Why should we all be cultural psychologists? Lessons from the study of social cognition. Perspectives on Psychological Science. 2016;11(5):583–596. doi: 10.1177/1745691616645552. [DOI] [PMC free article] [PubMed] [Google Scholar]
- Wang Q. Studying cognitive development in cultural context: A multi-level analysis approach. Developmental Review. 2018;50:54–64. doi: 10.1016/j.dr.2018.03.002. [DOI] [Google Scholar]
- Wang Q. The cultural foundation of human memory. Annual Review of Psychology. 2021;72:151–179. doi: 10.1146/annurev-psych-070920-023638. [DOI] [PubMed] [Google Scholar]
- Wang Q, Conway MA, Hou Y. Infantile amnesia: A cross-cultural investigation. Cognitive Sciences. 2004;1(1):123–135. [Google Scholar]
- Wang Q, Gould T, Hou Y. Is the future always brighter than the past? Anticipation of changes in the personal future after recall of past experiences. Memory. 2015;23(2):178–186. doi: 10.1080/09658211.2013.877147. [DOI] [PubMed] [Google Scholar]
- Wang Q, Hou Y, Tang H, Wiprovnick A. Traveling backward and forward in time: Culture and gender in the episodic specificity of past and future events. Memory. 2011;19(1):103–109. doi: 10.1080/09658211.2010.537279. [DOI] [PubMed] [Google Scholar]
- Wang Q, Koh JBK. How will things be the next time? Self in the construction of future events among school-aged children. Consciousness and Cognition. 2015;36:131–138. doi: 10.1016/j.concog.2015.06.013. [DOI] [PubMed] [Google Scholar]
- Weinstein ND. Unrealistic optimism about future life events. Journal of Personality and Social Psychology. 1980;39:806–820. doi: 10.1037/0022-3514.39.5.806. [DOI] [Google Scholar]
- Wong, B. (2020). How Chinese nationalism is changing. The Diplomat.https://thediplomat.com/2020/05/how-chinese-nationalism-is-changing/
- Wohl MJ, Squires EC, Caouette J. We were, we are, will we be? The social psychology of collective angst. Social and Personality Psychology Compass. 2012;6:379–391. doi: 10.1111/j.1751-9004.2012.00437.x. [DOI] [Google Scholar]
- Yamashiro JK, Roediger HL., III How we have fallen: Implicit trajectories in collective temporal thought. Memory. 2019;27(8):1158–1166. doi: 10.1080/09658211.2019.1635161. [DOI] [PubMed] [Google Scholar]
- Yıldırım, G. (2020, December 16). Ekonomide 2020 böyle geçti. Anadolu Agency. https://www.aa.com.tr/tr/ekonomi/ekonomide-2020-boyle-gecti-/2078395
- Zheng, Y. (1999). Discovering Chinese nationalism in China: Modernization, identity, and international relations. Cambridge University Press.
- Zittoun, T., & Gillespie, A. (2018) Imagining the collective future: A sociocultural perspective. In C. de Saint-Laurent, S. Obradović, & K. Carriere (Eds.), Imagining collective futures (pp. 15-37). Palgrave Macmillan, Cham. 10.1007/978-3-319-76051-3_2



