Abstract
目的
研究氧化锆全瓷和纯钛烤瓷两种上部结构材料及360°颈环设计对计算机辅助设计和制作种植支持固定修复体被动适合性的影响。
方法
制作32个弹性模量与牙槽骨相近的环氧树脂块并在每个树脂块上植入两枚种植体,模拟左下颌第二前磨牙至第二磨牙缺失后的种植修复。在每个种植体颈部4个方向上分别粘接应力感应器。制作4组不同材料及形态设计的三单位种植支持固定修复上部结构,每组8个。A组为常规氧化锆全瓷冠组,B组为360°氧化锆颈环基底全瓷冠组,C组为常规纯钛烤瓷冠组,D组为360°纯钛金属颈环基底烤瓷冠组。利用应力感应装置分别测量每颗种植体饰瓷烧结前、后种植体上部结构在粘接时对种植体周围结构引起的应变。
结果
饰瓷烧结前,不同的上部结构材料引起种植体周围结构的应变有明显不同,氧化锆组应变较小(P<0.01),不同形态设计造成应变的差异也有统计学意义,有颈环组应变较小(P<0.01),上部结构材料与形态设计对种植体周围结构应变的产生存在交互作用,氧化锆有颈环组应变最小(P<0.01)。经饰瓷烧结,各组应变均增加,不同材料对烤瓷前、后应变差异无明显影响(P>0.05),形态设计对烤瓷前后应变差异的影响有统计学意义,有颈环组差异较小(P<0.01)。
结论
氧化锆全瓷比纯钛金属烤瓷修复体具有更好的被动适合性;360°颈环有利于提高种植支持固定修复体被动适合性,并减轻由烧结饰瓷带来的不良影响。
Keywords: 种植支持固定修复体, 种植体上部结构, 被动适合性, 应变
Abstract
Objective
This study aimed to compare the passive fits of implant-supported cement-retained computer aided design/computer aided manufacturing (CAD/CAM) bridges fabricated with different implant superstructure designs from zirconia and titanium.
Methods
A total of 32 cubic clods with the same dimensions and with elastic modulus similar to that of mandibles were used. Each clod received two one-stage implants to simulate a partially edentulous jaw that was missing teeth between the lower left second premolar and second molar. Four linear strain gauges were bonded on the region surrounding each implant on the mesial, buccal, distal, and lingual aspects. A total of 32 identical frameworks were fabricated through CAD/CAM after scanning. The frameworks were allocated into four different groups (n=8) in accordance with material types and superstructure designs. Group A included zirconia ceramic implant-supported fixed prostheses with regular marginal designs. Group B comprised zirconia ceramic implant-supported fixed prostheses with full circumferential zirconia-collar marginal designs. Group C consisted of titanium ceramic implant-supported fixed prostheses with regular marginal designs. Group D included titanium ceramic implant-supported fixed prostheses with full circumferential titanium-collar marginal designs. Strain development before and after ceramic veneering was recorded during cement setting. Data were statistically analyzed by using SPSS software.
Results
Before ceramic veneering, material types affected the strains of prostheses, and zirconia frameworks showed lower strain than other frameworks (P<0.01). Designs affected the strains of prostheses, and frameworks with full collar marginal design showed lower strain than other frameworks (P<0.01). These two factors showed interactions (P<0.01). The strain of decorative porcelain increased after sintering. The two groups of different materials did not significantly differ (P>0.05). Nevertheless, the full circumferential collar marginal design reduced discrepancies among groups (P<0.01).
Conclusion
The passive fits of zirconia prostheses were better than those of titanium-based porcelain-fused-to-metal restorations. The full circumferential collar marginal design can help reduce fit inaccuracy, as well as the adverse effects of ceramic veneering.
Keywords: implant-supported prostheses, superstructure of implant, passive fit, strain
种植支持固定修复体不具备天然牙的生理动度,上部结构在粘接过程中应具有良好的被动适合性,不产生应变[1]。研究表明,临床上应用广泛的氧化锆基及纯钛基底冠材料和形态设计影响着单颗种植全冠的精密度及边缘适合性[2],而不同材料及设计对三单位种植支持固定修复体上部结构的被动适合性的影响还少有研究[1],[3]。本实验通过应力感应器装置感应种植支持固定修复体就位过程中种植体周围结构应变大小,探讨氧化锆全瓷和纯钛烤瓷两种上部结构材料及360°颈环设计对计算机辅助设计和制作(computer aided design/computer aided manufacturing,CAD/CAM)种植支持固定修复体被动适合性的影响,以期为临床提供参考。
1. 材料和方法
1.1. 设备和材料
三维扫描仪(3-shape 公司,丹麦),Cercon计算机辅助设计及制作系统、Cercon CAD/CAM烧结舱(DeguDent 公司,德国),HP系列数显式推拉力计(浙江省乐清市艾德堡仪器有限公司),CM3608 八通道可编程应变调理模块(北京纪光世纪电子有限公司),万能力学试验机(深圳瑞格尔公司),平行研磨仪(贺利氏公司,德国),数控机床(中国国威科技有限公司)。
E51型环氧树脂(上海晨光橡胶研究所),稀释剂669、固化剂T403(天津北辰方正试剂厂),软组织水平一段式纯钛种植体(济南诺植医疗器械有限公司),应力感应器(济南西格马科技有限公司),Vita In-Ceram YZ Cubes半烧结瓷坯(VITA公司,德国),切削纯钛金属(重庆卓田科技有限公司),暂时粘接用水门汀粘接剂(松风公司,日本),VITA VM9、TITANKERAMIK饰瓷粉(VITA公司,德国),复模硅橡胶(Zhermack公司,意大利)。
1.2. 方法
1.2.1. 模型建立
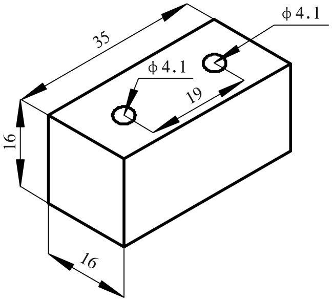
将E51型环氧树脂与稀释剂669、固化剂T403按100∶25∶462(质量比)的配比混合,搅拌均匀,置于45~50 °C下抽真空除气泡,浇入模具中固化。处理后得到弹性模量约1.35 GPa、强度约28 GPa的大块均质树脂[4]。用数控机床将树脂切割成长35 mm、宽16 mm、高16 mm的长方体32个,并在每个长方体的上表面距两侧边缘8 mm的中心处各预备一个直径4.1 mm、深10 mm的孔(图1),两个孔相互平行。
图 1. 树脂块示意图(单位:mm).
Fig 1 Schematic view of epoxy resin clod (unit: mm)
将3 mm×5 mm的应力感应器粘贴于树脂块上表面每个孔的四周,分别与树脂块的长和宽平行,边缘距预备好的种植孔边缘约0.25 mm。取软组织水平一段式纯钛种植体(4.1 mm×10 mm)64枚,于其根部螺纹间均匀涂布粘接树脂,植入并固定于树脂块上已备好的孔中,以模拟临床上的骨整合,擦净溢出的多余粘接剂。平行研磨仪检查确保两种植体相互平行。室温下静置固化。
1.2.2. 上部结构的制作及检测
将带有种植体的32个树脂块随机分为A、B、C、D共4组,每组8个。A组:CAD/CAM三单位氧化锆全瓷种植支持固定修复体;B组:CAD/CAM三单位360°氧化锆颈环全瓷种植支持固定修复体;C组:CAD/CAM三单位纯钛金属烤瓷种植支持固定体; D组:CAD/CAM三单位360°纯钛金属颈环烤瓷种植支持固定修复体。采用3-shape系统扫描,首先常规制作三单位纯钛种植支持固定修复体,用复模硅橡胶对其形态进行复制,以此为导板指导A、B、C、D组修复体饰面瓷的堆塑;然后在电脑设计软件上在解剖式种植支持固定修复体的基础上进行回切,使得饰瓷层厚度为1.5 mm,剩余量为上层结构支架厚度。距离肩台位置1 mm以上的部分设定间隙涂料厚度为20 µm。A、C组上部结构形态一致,肩台处预留饰瓷空间; B、D组上部结构形态一致,360°氧化锆/纯钛颈环高度1 mm,厚度与A、C组全冠上饰瓷后的边缘1 mm范围厚度一致(图2)。A、B组采用泽康系统切削Vita In-Ceram YZ Cubes半烧结瓷坯,烧结;C、D组采用泽康系统切削纯钛上部结构。
图 2. 不同内冠设计示意图.

Fig 2 Schematic view of different designs of basal crowns
上:常规设计;下:360°颈环设计。
每个上部结构测试前,先将树脂块上8个应力感应器的导线分别与八通道信号收集装置的电路板相焊接(图3)。涂布临时粘接剂于义齿组织面,垂直就位。使用推拉力计在桥体中央部位施加压力(图4)。先加压200 N,持续30 s,后改为加压100 N,持续2 min,然后释放压力2 min,读取此时应力感应器的数值[5]。抬升力学试验机的加载头,加热导线与电路板相连接的焊接点,取出导线后,将树脂块与粘接在其上的上部结构一同从测试台拿下。测试其他模型,直至完成。
图 3. 线路连接图.

Fig 3 Diagram of wire connection
图 4. 加载桥体受力图.

Fig 4 Mounting of crowns on the apparatus attached to the instron
1.2.3. 饰瓷烧结及最终修复体的检测
用取冠器轻敲上部结构的桥体部位,将其与种植体分离,超声清洁粘接面。硅橡胶导板指导各组饰瓷的堆塑,氧化锆和纯钛饰瓷烧结温度分别为900和790 °C,烧结1~2次并最后上釉,使32组固定修复体经饰瓷烧结后的外观形态一致。涂布粘接剂于义齿组织面,垂直就位。使用推拉力计在桥体中央部位施加压力。先加压200 N,持续30 s,后改为加压100 N,持续2 min,然后释放压力2 min,读取此时应力感应器的数值。抬升力学试验机的加载头,依次测试其他模型,直至完成。
1.3. 统计分析
使用SPSS 20.0分析软件包进行正态性检验和双因素方差分析,对比各组内冠及最终修复体粘接后种植体颈部的应变情况,检验水准为双侧α=0.05。
2. 结果
2.1. 各组上部结构适合性的比较
经Shapiro-Wilk检验,本研究测得的各组数据均服从正态分布(P>0.05)。饰瓷烧结前各组周围结构应变的检测结果见表1。析因方差分析显示:不同上部结构材料对应变的影响有统计学意义,氧化锆组应变较小(P<0.01);不同内冠形态设计对应变的影响也有统计学意义,有颈环设计的内冠可降低应变(P<0.01)。
表 1. 饰瓷烧结前上部结构不同材料及形态设计对应变的影响.
Tab 1 The strain values of superstructure with different materials and designs before ceramic veneering
| 材料 | 形态 |
|
| 无颈环 | 有颈环 | |
| 氧化锆 | 73.83±41.44 | 79.07±35.04 |
| 纯钛 | 181.56±79.76 | 95.85±54.63 |
x±s
2.2. 最终修复体适合性的比较
饰瓷烧结后各组周围结构应变的检测结果见表2。析因方差分析显示:不同内冠材料对最终修复体所产生应变的影响有统计学意义,氧化锆组应变较小(P<0.01);不同内冠形态设计对最终修复体所产生应变的影响有统计学意义,有颈环设计的内冠可降低应变(P<0.01)。对材料与形态设计两因素在方差分析中交互作用进行统计学检验,两处理因素对最终修复体所产生的应变存在交互作用(F=7.986,P<0.01)。
表 2. 饰瓷烧结后上部结构不同材料及形态设计对应变的影响.
Tab 2 The strain values of superstructure with different materials and designs after ceramic veneering
| 材料 | 形态 |
|
| 无颈环 | 有颈环 | |
| 氧化锆 | 128.81±60.98 | 94.63±53.58 |
| 纯钛 | 256.71±272.54 | 115.53±104.21 |
x±s
2.3. 各组修复体饰瓷烧结前后应变的比较
饰瓷烧结前后各组应变的变化见表3。析因方差分析显示:不同内冠材料对饰瓷烧结前后应变的变化没有明显的影响(P>0.05);不同内冠形态设计对饰瓷烧结前后应变的影响具有统计学意义,有颈环设计的内冠饰瓷烧结前后应变的差异较小(P<0.01);材料与形态设计两因素间无交互作用(P>0.05)。
表 3. 上部结构不同材料及形态设计在饰瓷烧结前后应变的变化.
Tab 3 The discrepancy of strain values caused by different materials and designs before and after ceramic veneering
| 材料 | 形态 |
|
| 无颈环 | 有颈环 | |
| 氧化锆 | 54.97±53.43 | 15.56±57.88 |
| 纯钛 | 75.14±270.55 | 19.69±119.45 |
x±s
3. 讨论
种植支持固定修复体的被动适合性反映了修复体制作的变形程度以及就位时的应力状态,达到上部结构与种植体的无应力连接是种植修复追求的目标[6]。检测种植修复体适合性的方法很多,借助应力感应器是目前研究种植修复体被动适合性的有效手段[7]。将应力感受器粘接在种植体颈部周围,在修复体就位并施加一定的压力后,以电阻大小的形式有效感应种植体颈部所受应力并转化为应变值,以此反映修复体被动适合性的大小,具有灵敏、精确、可定量分析等优点。
目前堆塑饰面瓷的双层氧化锆修复体由于崩瓷问题已逐渐被全锆修复体取代,但其应用在美学区时,美学效果不如双层氧化锆,因而研究双层氧化锆修复体有一定的临床意义。
本研究结果显示,无论烧结前还是烧结后、无颈环组还是有颈环组,纯钛修复体的被动适合性均低于氧化锆修复体。这可能由于加工制作过程所引起:钛的加工过程在高速切削下完成,金属的表层产生明显的聚集应力[8]。与此同时,钛试件经研磨时,界面散热率很低,导致了较高的切削温度[9]。这样的切削环境使得热载荷和机械载荷同时施加于被研磨的钛试件,使得钛的表面产生形变。另外,钛的弹性模量约为106 GPa,远小于氧化锆约210 GPa的弹性模量[10],这意味着钛相对氧化锆而言更有弹性,且更易在切削后产生可逆的变形。
相比于纯钛种植支持的固定修复体,氧化锆种植支持的固定修复体则表现出较高的被动适合性。因烧结后的氧化锆硬度高,切削难度大,故临床上常切削半烧结氧化锆,再烧结6~8 h。氧化锆上部结构受加工制作因素导致的尺寸变化主要是由于烧结过程会产生约25%的体积收缩[11],这部分变化需计算机软件精确计算,在半烧结状态切削时予以适当放大,以弥补烧结过程产生的收缩。另外,因为切削是在半烧结状态下进行,加工时所施加的压力与产生的热量均相对较小,使切削后的潜在尺寸变化较小。本实验所用的烧结切削陶瓷是氧化钇部分稳定的氧化锆瓷,其主要成分是氧化锆,并添加了一部分氧化钇,还含有微量的氧化铝,其中的氧化钇能将氧化锆的高温晶型-四方晶型保持至室温,而室温下处于亚稳定状态的四方晶型氧化锆在受到一定应力的作用时能迅速转变为单斜晶相,在晶相转变的过程中,伴随着3%~5%的体积膨胀[10],这部分体积膨胀有可能抵消了原本被动适合性欠佳的不利影响。
对于不同形态设计的上部结构,其主要区别在于肩台部位的厚度。氧化锆基底冠由于切削时是半烧结状态,需按比例放大以弥补后续烧结产生的收缩,理论上讲,氧化锆体积越大,烧结收缩引起的误差就会越大[12],然而在本实验中,烧结饰瓷前,不同的肩台部位厚度,即有无360°氧化锆颈环的上部结构被动适合性并无明显差异,说明计算机软件的设计和加工过程能很好地控制氧化锆烧结收缩误差。但是,360°金属颈环的设计大大提高了纯钛基底冠的被动适合性,表明研磨金属钛时,机械载荷和热载荷使钛试件产生的不利形变在冠边缘厚度较薄时影响更为显著。
饰瓷的烧结使修复体被动适合性降低已被多位学者报道[3],[5]。基底冠材料与瓷粉的热膨胀系数不完全一致,导致两种材料交界面上存在残余应力;二次烧结使内冠的体积进一步收缩是饰瓷烧结后适合性降低的原因[13]。对种植体支持的固定修复体来说,其固位体颈部与基台边缘相接处的宽度为0.5 mm,比天然牙支持式要求的肩台宽度要小,导致基底冠边缘的厚度更薄,所以经饰瓷烧结后的适合性降低会更明显。这也得到了Abduo等[14]研究的支持。
本实验结果表明,不同的内冠材料并不影响饰瓷烧结前后修复体被动适合性的差异,但不同的内冠形态设计对饰瓷烧结前后应变的影响有统计学意义。360°颈环的上部结构设计降低了饰瓷烧结带来的不利影响的原因可能存在以下几方面。首先,颈环增加了在种植体上部结构颈部的厚度,减小了烧结饰瓷时材料过薄处容易产生的变形;其次,有360°颈环的上部结构可避免饰瓷粉沾染基底冠组织面造成不完全就位[12],从而影响被动适合性;第三,颈部无饰瓷避免了上部结构材料与瓷粉的热膨胀系数不一致导致的两种材料交界面上存在的残余应力。
本研究样本量较小,且只测定了粘接后的静态应力值,没能实现动态加载下的测量,这是本实验需要优化之处,也是后续实验应进一步探讨的方面。
Funding Statement
[基金项目] 山东省科技发展计划(2014GGH218021)
Supported by: Science and Technology Development Project of Shandong Province (2014GGH218021).
References
- 1.Karl M, Rosch S, Graef F, et al. Strain situation after fixation of three-unit ceramic veneered implant superstructures[J] Implant Dent. 2005;14(2):157–165. doi: 10.1097/01.id.0000163809.37466.ac. [DOI] [PubMed] [Google Scholar]
- 2.刘 翠玲, 杨 丽媛, 高 旭, et al. 氧化锆和纯钛基底冠材料及饰瓷烧结对种植全冠适合性的影响[J] 华西口腔医学杂志. 2016;34(3):262–266. doi: 10.7518/hxkq.2016.03.009. [DOI] [PMC free article] [PubMed] [Google Scholar]; Liu CL, Yang LY, Gao X, et al. Influence of coping material selection and porcelain firing on marginal and internal fit of computer-aided design/computer-aided manufacturing of zirconia and titanium ceramic implant-supported crowns[J] West Chin J Stomatol. 2016;34(3):262–266. doi: 10.7518/hxkq.2016.03.009. [DOI] [PMC free article] [PubMed] [Google Scholar]
- 3.Karl M, Graef F, Wichmann M, et al. Passivity of fit of CAD/CAM and copy-milled frameworks, veneered frameworks, and anatomically contoured, zirconia ceramic, implant-supported fixed prostheses[J] J Prosthet Dent. 2012;107(4):232–238. doi: 10.1016/S0022-3913(12)60067-5. [DOI] [PubMed] [Google Scholar]
- 4.Keaveny TM, Guo XE, Wachtel EF, et al. Trabecular bone exhibits fully linear elastic behavior and yields at low strains[J] J Biomech. 1994;27(9):1127–1136. doi: 10.1016/0021-9290(94)90053-1. [DOI] [PubMed] [Google Scholar]
- 5.Karl M, Rosch S, Graef F, et al. Static implant loading caused by as-cast metal and ceramic-veneered superstructures[J] J Prosthet Dent. 2005;93(4):324–330. doi: 10.1016/j.prosdent.2004.12.006. [DOI] [PubMed] [Google Scholar]
- 6.Buzayan MM, Yunus NB. Passive fit in screw retained multiunit implant prosthesis understanding and achiving[J] J Indian Prosthdont Soc. 2014;14(1):16–23. doi: 10.1007/s13191-013-0343-x. [DOI] [PMC free article] [PubMed] [Google Scholar]
- 7.Abduo J, Bennani V, Waddell N, et al. Assessing the fit of implant fixed prostheses: a critical review[J] Int J Oral Maxillofac Implants. 2010;25(3):506–515. [PubMed] [Google Scholar]
- 8.Terminasov YS, Yakhontov AG. Distortion of lattice structure of metals by grinding[J] Met Sci Heat Treat. 1959;1(5):19–23. [Google Scholar]
- 9.Kikuchi M. The use of cutting temperature to evaluate the machinability of titanium alloys[J] Acta Biomater. 2009;5(2):770–775. doi: 10.1016/j.actbio.2008.08.016. [DOI] [PubMed] [Google Scholar]
- 10.赵 信义, 孙 皎. 口腔材料学[M]. 5版. 北京: 人民卫生出版社; 2012. p. 203. [Google Scholar]; Zhao XY, Sun J. Beijing: People's Medical Publishing House. 2012. Science of dental materials[M]. 5th ed; p. 203. [Google Scholar]
- 11.Denry I, Kelly JR. State of the art of zirconia for dental applications[J] Dent Mater. 2008;24(3):299–307. doi: 10.1016/j.dental.2007.05.007. [DOI] [PubMed] [Google Scholar]
- 12.刘 翠玲, 高 旭, 齐 玉萍, et al. 不同设计和饰/釉瓷烧结对氧化锆种植全瓷冠内部和边缘适合性的影响[J] 华西口腔医学杂志. 2016;34(1):63–67. [Google Scholar]; Liu CL, Gao X, Qi YP, et al. Influence of different designs and porcelain/glaze firing on the marginal and internal fit of implant-supported zirconia crowns[J] West Chin J Stomatol. 2016;34(1):63–67. doi: 10.7518/hxkq.2016.01.013. [DOI] [PMC free article] [PubMed] [Google Scholar]
- 13.Kohorst P, Brinkmann H, Dittmer MP, et al. Influence of the veneering process on the marginal fit of zirconia fixed dental prostheses[J] J Oral Rehabil. 2010;37(4):283–291. doi: 10.1111/j.1365-2842.2009.02053.x. [DOI] [PubMed] [Google Scholar]
- 14.Abduo J, Lyons K, Waddell N, et al. A comparison of fit of CNC-milled titanium and zirconia frameworks to implants[J] Clin Implant Dent Relat Res. 2012;14(Suppl 1):e20–e29. doi: 10.1111/j.1708-8208.2010.00334.x. [DOI] [PubMed] [Google Scholar]

